





Preview
基本信息产品详情证书
基本信息
| 型号(No.) | SX51-42-2-10、SX51-70-2-10、SX51-105-2-10 |
| 制造工艺 | 伪造 |
| 表面处理 | 抛光 |
| 操作压力 | 真空 |
| 材料 | 铸钢 |
| 规格(英寸) | 2", 3", 4" |
| 压力(兆帕) | 42,70,105,140 |
| 颜色 | 按照您的要求 |
| 温度水平 | -29ºC至121ºC(P-U级) |
| 交通包裹 | 木箱 |
| 起源 | 中国山东 |
| 商品编码 | 8431431000 |
| 生产能力 | 五万 |
产品详情
Product Description
Preview

Preview
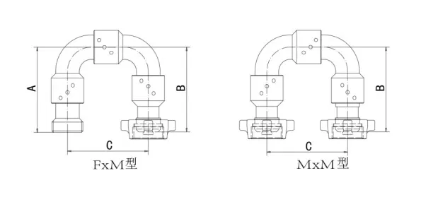
1.Swivel joint is cementing and fracturing equipment High Pressure Fluid Control Products. Hammer union is to change direction and to facilitate the construction of the pipeline connecting the pipe line connection.Widely used in the acidic operating environment (excluding containing CO2, H2S sour gas operating environment) in the high-pressure discharge line, input line, a temporary flow line, well testing, and other high-voltage transmission lines on pipelines. Swivel joint specifications are 1½ "~ 4" in, rated working pressure of 42MPa ~ 105MPa, working temperature -46 ºC ~ 121 ºC.2.The high pressure swivel joint has been widely applied in the condition of acid working, mainly including the high pressure discharge pipe, intake pipe, temporary flow pipe, well-testing pipe and pipes of fluid transportation under other high-pressure conditions;
3.The well-designed 1½ "~4" long sweep swivel joint possesses the cold working pressure of 42Mpa~105Mpa (6000psi~15000psi), with 10 different types. It can be rotated by 360° along one direction, two directions or three directions. The company can also provide 90 degree swivel joints with different types and repair kits under the conditions of normal temperature, low temperature and sulfurous gas.
3.The well-designed 1½ "~4" long sweep swivel joint possesses the cold working pressure of 42Mpa~105Mpa (6000psi~15000psi), with 10 different types. It can be rotated by 360° along one direction, two directions or three directions. The company can also provide 90 degree swivel joints with different types and repair kits under the conditions of normal temperature, low temperature and sulfurous gas.
Preview

Preview

Preview

Preview

Preview

Preview
Packing & Delivery
Preview

Preview

Preview
Company Profile
Preview

Preview

Preview

Preview
Shandong Xilong Machinery Equipment Co., Ltd.
Is a professional supplier of various oilfield equipment in Dongying Shandong, including API certified oil drilling and service equipment, oil production equipment, oil tubing, wellhead and downhole tools and accessories.1.The company has developed various types and complete specifications of oil drilling and production wellhead mechanized tools.2. Company export countries: Sales cover the country's major oil fields and Europe, the United States, the Middle East, Central Asia, Southeast Asia and other regions.3. To bring customers what role: shandong Xilong Mechanical machinery equipment co., LTD. In domestic oil fields and the overseas market has a perfect service network, has a complete pre-sale, sale, after-sales service system, and provide special conditions according to the customer request work of customized products, domestic products cover the fields, are exported to North America, southeast Asia, the Middle East, central Asia and north Africa and other regions.
Is a professional supplier of various oilfield equipment in Dongying Shandong, including API certified oil drilling and service equipment, oil production equipment, oil tubing, wellhead and downhole tools and accessories.1.The company has developed various types and complete specifications of oil drilling and production wellhead mechanized tools.2. Company export countries: Sales cover the country's major oil fields and Europe, the United States, the Middle East, Central Asia, Southeast Asia and other regions.3. To bring customers what role: shandong Xilong Mechanical machinery equipment co., LTD. In domestic oil fields and the overseas market has a perfect service network, has a complete pre-sale, sale, after-sales service system, and provide special conditions according to the customer request work of customized products, domestic products cover the fields, are exported to North America, southeast Asia, the Middle East, central Asia and north Africa and other regions.
Preview
证书
标题:证书

Preview
销售优质Sx51-42-2-10、Sx51-70-2-10、Sx51-105-2-10旋转接头
¥2172 ~ ¥5792
化工产业链 · 石油设备及器械 · 石油机械配件
产地中国山东


上海
已认证
