




Preview
基本信息产品详情
基本信息
保修 | 两年 |
售后服务 | 在线技术支持、免费备件、退换货 |
项目解决方案能力 | 项目总解决方案 |
应用 | 办公大楼 |
设计风格 | 现代 |
产地 | 中国北京 |
品牌名称 | 苏澜(SoLoon) |
型号号码 | S6061-04DN(F)/24V(220V) |
功能 | 通风 |
颜色 | HBI |
电压 | 24伏特;230伏特 |
证书 | CE |
品牌 | 索隆 |
MOQ | KABO |
扭矩 | 4 牛·米 |
用法 | HAVC系统 |
噪音 | 45分贝(A)以下 |
包装细节 | 每防水纸箱装18个内盒(54.5*21*27cm) 每个托盘装42个防水纸箱(110*90cm) 20”集装箱装12个托盘 |
销售单位 | 单件 |
单个包装尺寸: | 14.6乘以8.5乘以6.5厘米 |
总毛重: | 1.5千克 |
产品详情
产品描述
技术规格
项目S6061-04DN(F)/24VS6061-04DN(F)/230Vn扭矩n4Nmn阻尼器面积n1m² n运行时间n30~40秒n电源n交流/直流24V 50/60赫兹n交流230V 50/60赫兹n运行功率消耗n2.5W至4.0Wn控制信号n2/3点信号n重量1.0Kgn旋转角度n0~90°(最大93º)n辅助开关额定值n3(1.5)Amp 250Vn生命周期n>70000次循环n噪声等级n≤最大噪音水平为四十五分贝。nIP保护等级(国际电工协会IP防护等级体系认证保护)为IP 5级防尘、防水喷溅防护等级。n温度范围在:-零下二十度至零上五十度摄氏度。n湿度范围:n在百分之五至百分之九十五RH之间。n存储温度范围:n零下四十度至零上七十度。n证书:n欧盟(CE)及美国的(UL)。
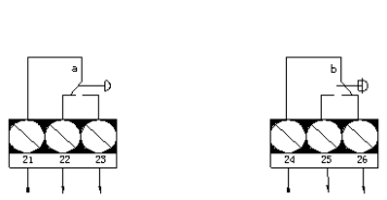
线路图:辅助开关

Preview

Preview
OutlineSize:

Preview
公司信息

Preview
研讨会

Preview
包装

Preview
证书

Preview
贸易展会

Preview
常见问题解答

Preview
联系我们

Preview
暖风系统附件部分一般阻尼器执行器4 Nm
¥151.15 ~ ¥188.98
建筑材料产业链 · 暖通空调系统和零件 · 暖通空调系统配件
品牌索隆