展厅导航
智能设备产业链
运输工具制造产业链
消费电子产业链
建筑材料产业链
化工产业链
履约服务
企业服务
其他设备
首页
产品
展厅
圈子
商讯
关于我们
EN
登录/注册
微软新专利探索游戏设计:AI 定制剧情、玩法等
发布时间:2025年1月14日 11:28
138
电子工坊
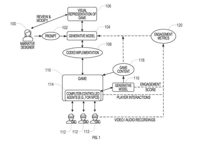
IT之家 1 月 14 日消息,根据美国商标和专利局(USPTO)最新公示的清单,微软获得了一项专利技术,利用生成式人工智能(AI)设计游戏,赋予设计者和玩家通过指令定制游戏体验的能力。
专利概述了 AI 迭代游戏的方式,例如根据指令快速生成与叙事相关的对象。以《我的世界》(Minecraft)为例,玩家可以输入指令,实时创建新的游戏规则、系统、非玩家角色(NPC)或叙事内容。
产品
缤商APP
用户后台
关于我们
公司简介
加入我们
用户协议
隐私政策
联系我们
合作:135-8566-0971
客服:021-61673695
邮箱:support@bincial.com
地址:上海市浦东新区御桥路1220弄3号
视频号
公众号
抖音
快手
Copyright© 上海播知科技有限公司 沪ICP备2023012989号-4