三星专利探索 AR 智能眼镜,新设计降低扬声器电磁干扰
IT之家 12 月 27 日消息,根据美国商标和专利局(USPTO)最新公示的专利,三星获批一项智能眼镜专利,概述了一种全新的扬声器设计,可以保护其免受电磁干扰。
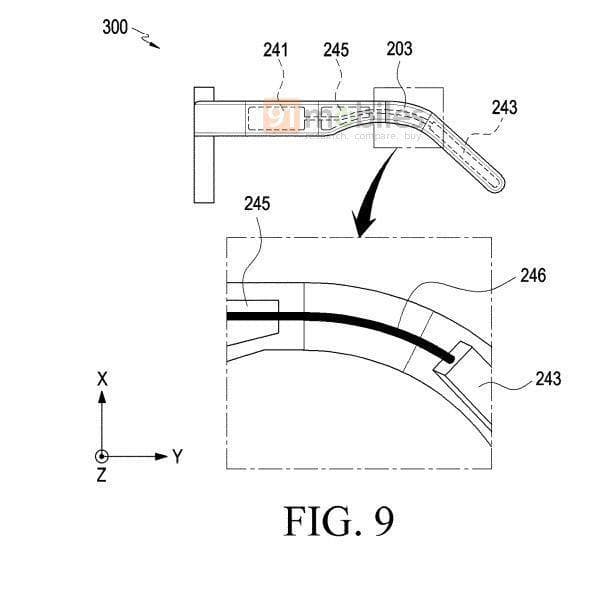
电源线和扬声器彼此靠近时,由于电源线产生的磁场,扬声器会产生噪音。科技媒体 91Mobile 在博文中,介绍称三星通过一条部分重叠扬声器线圈中心区域的电源线,平衡线圈磁场,减少其他组件的电磁接口产生的扬声器噪音。
专利文件显示,该可穿戴设备有一个外壳,其中包括扬声器、电池、电源传输结构和光输出模块(用于显示 / 输出图像),IT之家附上专利图片如下:

至于三星可穿戴设备的设计,它与其他任何智能眼镜一样,正面有两个椭圆形镜片,镜腿容纳所需的传感器,还将配备一个触摸传感器,用于检测触摸,以及一个压力传感器,用于测量触摸力的强度。


