苹果新铰链设计专利公示,让折叠 iPhone / iPad 更灵活、更耐用
发布时间:2024年12月11日 12:31
Author电子工坊
IT之家 12 月 11 日消息,苹果公司目前虽然没有推出折叠屏设备,但从未停止探索折叠屏技术。根据最新公示的清单,苹果获得了一项折叠屏铰链设计专利,巧妙地使用指状物和月牙槽设计,带来更灵活的折叠效果,并提升耐用性。
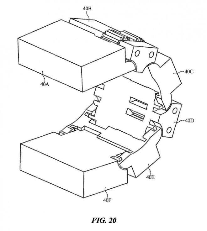
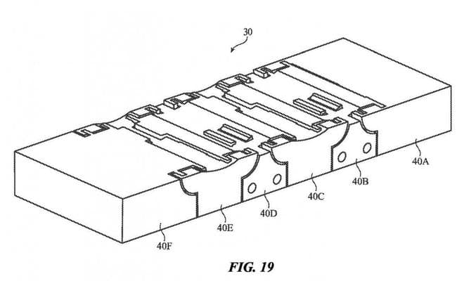
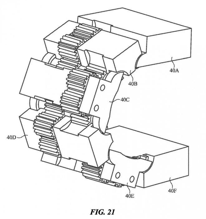
该专利描述了一种由相互连接的指状物和摩擦离合器组成的铰链结构,形成月牙形槽,让每个环节实现相对旋转,并将旋转轴移至环节外部,实现更灵活的折叠。
Image 2
链节上设有新月形槽,用于容纳销钉,当设备折叠时,销钉沿着新月形槽滑动,确保相邻链节围绕位于铰链外部且在柔性显示面板内的旋转轴相对旋转。
Image 4
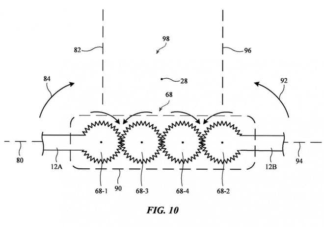
专利还描述了一种壳体旋转同步机构,该机构使用一组齿轮连接设备的两个外壳部分,确保折叠过程的平滑和稳定。
专利说明显示,这种铰链设计可广泛应用于手机、平板电脑、笔记本电脑,甚至手表等可穿戴设备,表明该专利不仅可用于 iPhone,还可以部署在 iPad、Mac 和 Apple Watch 上。IT之家附上相关图片如下:
Image 7Image 8Image 9
产品
缤商APP用户后台
关于我们
公司简介加入我们
用户协议
隐私政策
联系我们
合作:135-8566-0971
客服:021-61673695
邮箱:support@bincial.com
地址:上海市浦东新区御桥路1220弄3号
DownloadAPP
视频号
WeChat
公众号
抖音
快手
Copyright© 上海播知科技有限公司 沪ICP备2023012989号-4