小米SUV新谍照曝光:有望搭载远端贯穿式“带鱼屏”
发布时间:2024年11月30日 08:31
Author电子工坊
IT之家 11 月 29 日消息,多名博主今天曝光了一批小米 SUV 的最新谍照,这次展现的内容包含一部分新车的内饰布局。图片显示,小米 SUV 有望在仪表台前方采用远端贯穿式屏幕,造型细长酷似“带鱼屏”。
Image 1Image 2Image 3
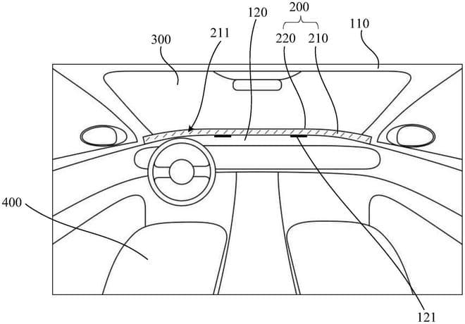
早在去年 4 月,小米汽车科技有限公司申请的“车辆”专利获授权。该实用新型公开了一种车辆,包括车身、显示装置以及前挡风透光件。车身设有驾驶空间,车身包括前框以及控制台。显示装置包括用于显示车辆信息的显示屏以及固设于控制台的壳体组件。显示屏设置于壳体组件上,并靠近前框设置,显示屏包括朝向驾驶空间内部方向显示的显示面。前挡风透光件的至少部分与前框固定连接,显示装置的至少部分夹设于控制台和前挡风透光件之间。
Image 5Image 6
说明书显示,大部分车辆在方向盘前方设置有仪表盘,驾驶员需要朝下看才能看清车辆信息,这不利于安全驾驶。该专利将显示装置部分夹设于控制台和前挡风透光件之间,能够方便驾驶员查看车辆信息,有利于提高驾驶安全性。
综合IT之家此前报道,近期的另一辆小米 SUV 实车谍照显示,新车“至少并非所有版本”都会采用备受期待的对开门设计。小米汽车内部人士透露,小米 SUV 计划于明年 2、3 月上市。
Image 9
产品
缤商APP用户后台
关于我们
公司简介加入我们
用户协议
隐私政策
联系我们
合作:135-8566-0971
客服:021-61673695
邮箱:support@bincial.com
地址:上海市浦东新区御桥路1220弄3号
DownloadAPP
视频号
WeChat
公众号
抖音
快手
Copyright© 上海播知科技有限公司 沪ICP备2023012989号-4