下一个“类比摇杆”式的交互革命在哪里?
是否还记得,上一次空间移动设备革命是什么时候?
是1996年6月23日,任天堂64(简称N64)发布,此后在N64上诞生了迄今为止评分最高的两款游戏《塞尔达传说 时之笛》和《超级马力欧64》,以及搭配主机发售的带“类比摇杆”的游戏手柄。

图片来源:nintendo.com.hk
这两款游戏,和这个手柄,在今天看来可能有一些“落伍”,但因为相比于过去的街机摇杆杆柄变短,用拇指可以顺利操作,摇杆下的电位器让原本纯粹的方向指令变成了可量化距离的向量信号。借由时之笛和马里奥64的游戏设计,奠定了时至今日的空间移动操控模式。
今天类比摇杆不仅是所有游戏手柄标配,也几乎是VR设备标配,无论是Meta Quest3、索尼 PlayStation VR2、Steam Index还是Pico 4,只要涉及3D空间的移动需求,类比摇杆仍然是在成本、效率、体验考量下的最优解。
为什么,作为一个上世纪的发明,类比摇杆如此有生命力,它是真的不可以被替代吗?
重新认识类比摇杆
虽然类比摇杆的历史可追溯至20世纪初的机械操纵杆,更早期的家用游戏机如Magnavox Odyssey(1972年)使用旋钮控制方向。但真正意义上将其应用到三维空间操作,是N64搭配了带类比摇杆的“N64控制器”之后。
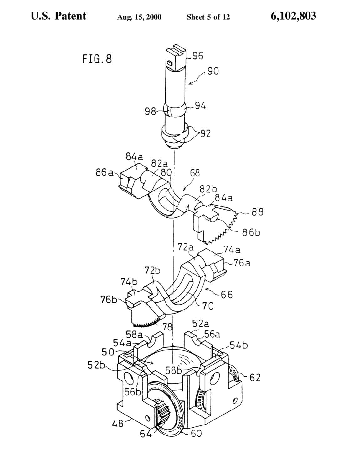
根据任天堂申请的US6102803,N64控制器所带的操纵杆的关键部件包括一个可360度倾斜的杆体和引导环。杆体通过球形连接件固定在设备中,其顶部带有一个符合人体工程学设计的操作旋钮。引导环的八角形设计不仅为操纵杆提供方向引导(如北、东北等),还起到限制倾斜幅度的作用,防止损坏杆体。
在杆体倾斜时,下部的摆动组件随之移动,带动光学编码盘旋转。通过光学传感器检测编码盘的旋转信号,操纵杆能够精确地输出倾斜方向和幅度的数字数据。这种技术让设备能感知360度范围内的方向输入,同时根据倾斜角度调整力度或速度。
为了提高操作的稳定性,操纵杆内部配备弹簧结构,确保杆体在释放后自动复位至中心位置。弹簧还提供阻尼效果,使操作更平滑、精准。

在1996年这个时间点,计算机图形技术以及硬件性能,以及可以支撑大型的3D游戏,但在N64 之前,如何在3D中完成操作却仍然无解。N64控制器的出现让全世界的游戏开发者找到了方向。随后,其它游戏厂商也纷纷跟进。
1997年,索尼推出PlayStation DualShock,首次配备了双类比摇杆。2001年,微软推出的Xbox手柄中同样配备了双类比摇杆。此后游戏主机御三家,以及诸多第三方厂商,逐渐将双类比摇杆作为游戏控制器的标配保留下来。
而当VR设备面临“怎样在沉浸式三维空间中移动时”,尝试过采用动作追踪、房间级定位、瞬移传送甚至自然步行模拟来取代类比摇杆,但至少在今天,他们最多只能作为类比摇杆的升级和补充,还无法实现取代。
为什么类比摇杆难以取代
"Anyone who makes 3D games who says they've not borrowed something from Mario or Zelda is lying," ——Dan Houser
R星创始人之一,也是GTA和《荒野大镖客》系列的编剧丹·豪瑟这段话,隐藏着类比摇杆无法被取代的原因——由于类比摇杆出现而形成的操控模式,已经成为游戏圈的标准,而打破一种标准并不容易。
在任天堂为马里奥64的游戏操控系统申请的US6139433专利中提到,通过类比摇杆和N64控制器上的其它功能,马力奥64提供了一个包含多功能游戏控制器的三维视频游戏系统,而其中对三维空间探索最重要的创新,是动态相机系统。
相机会根据角色的位置和动作自动调整角度,避免视线遮挡,同时允许玩家手动控制视角。这种设计让玩家在跳跃、攀爬等复杂动作中能够更精确地判断路径,提升操作体验。
而比马力奥64晚两年发布的《塞尔达传说·时之笛》则带来了另外一项重要的三维探索系统创新:Z目标锁定系统。通过按下控制器上的Z键(或相应按钮),玩家可以将视角锁定在特定目标上,无论是敌人、物品还是友方角色。锁定后,相机会自动调整为以目标为中心,角色则围绕目标移动,玩家可以更精准地进行攻击、防御或互动。

图片来源:businessinsider.com
随后PlayStation DualShock双类比摇杆诞生,彻底奠定了今天我们玩到的第三人称3D游戏的空间操作模式:一个按键可以锁定目标,一个摇杆可以进行相机视角微调,另一个摇杆可以控制人物到处走动。

图片来源:Amazon
很多曾经采取其它操作模式的游戏也逐渐接受了这套标准,比如《生化危机》前两代是类似于“摄像头”的固定相机视角,虽然有利于塑造恐怖氛围但操作太反人类,后来也接受了这一整套“任天堂-索尼方案”。
今天所有做游戏,尤其是做第三人称3D游戏的开发者,基本上都会遵循这种操作逻辑,这样做适配现有的主流手柄,可以节省大量的开发时间,这么多年下来,玩家也都习惯了这套操作标准,在比较年轻的玩家看来,这套操作模式几乎是与生俱来的。
但类比摇杆和这套操作系统真的就如此完美吗?肯定不是的,事实上,手柄本身最适合的只有第三人称3D游戏,如第一人称的FPS游戏,虽然也可以用手柄玩,用类比摇杆控制方向和行动,但真正专业的FPS玩家更青睐瞄准反应更快键鼠。而2D格斗游戏的高玩也更喜欢输入更快速的8方向数字摇杆。(不过这俩的岁数甚至比类比摇杆还要老)

图片来源:youtube@adreN
但类比摇杆以其泛用性,得到了家用市场最普遍的支持,在近30年的时间里,一遍又一遍的教育市场。曾经人们以为Wii Remote或Kinect的出现会让交互再次革命,早期Oculus Rift的控制器也不带类比摇杆,但最终他们又都在后来的产品中强化了类比摇杆的体验。
无他,如果要适应最广泛的3D游戏开发,那么在今天,就是需要适配类比摇杆。
那么,有谁能够替代类比摇杆吗?
类比摇杆和如今的第三人称3D游戏,本质上给用户创造的是一种“扛着相机跟着扮演的游戏主角跑”的体验。而随XR诞生、第一人称游戏的拟真要求以及体感要求,其目标就是更近一步:让使用者真正扮演主角。
因此,可能替代类比摇杆作用的方案层出不穷。将其归类,可以主要分为四派:”头号玩家“派、追踪派、脑机接口派以及混合派。
在电影《头号玩家》中,创造这一体验的方式是“自然步行模拟”加上“全身追踪”。现实里,HTC曾经在这个方向上做过许多尝试,比如可以进行全身动作捕捉的HTC Vive Tracker,其头显也可以和Virtuix Omni VR万向跑步机配对,进行全方位的行走。这是一种彻底的拟真,但成本高昂。仅以万向跑步机为例,最新Pico 4 合作的Omni One 跑步机售价高达2595美元,足以劝退大部分非核心用户。

图片来源:variety.com
追踪派包括了手势追踪、眼动追踪、全身追踪。和《头号玩家》里预期的不同,他们对于移动更多采取“瞬移”的方式,通过手势或眼神锁定之后完成传送与互动。但在复杂场景中,这种方式往往精度不甚理想,很多“微调”的动作难以实现,因为不符合自然的移动过程,也更容易出现使用者的疲劳。
脑机接口派的最终理想是类似于《刀剑神域》里的状况,将自己彻底置身于一种虚拟的想象之中,现实里,大多数BCI交互主要基于简单的命令(如“注视目标”或“想象动作”),在实验性质的场景下,如今能够实现打字和简单的游戏指令,但离大规模应用尚有距离。不过假以时日,这肯定是最理想的一种交互革新。

图片来源:inverse.com
混合派顾名思义,是将现有较为成熟的技术进行整合,不追求单点上的突破,而追求通过软硬结合,创造当下更高的反馈密度。其代表是Valve Index 头显搭配《半衰期:Alyx》游戏。软件方面,继承了Valve系游戏中大量的环境物品都有细致互动反馈的传统,比如玩家可以用手擦窗户、推倒大部分可见的物体等,同时“重力手套”功能可以将远处的物体吸附过来,拓展了交互。硬件里,一方面Index的Knuckles控制器相比同行,有更细致的震动反馈和压力感应;另一方面,在头显和手柄之外单独的Lighthouse 基站,可以直观感应到玩家在房间里的走动并复现于游戏中,结合Knuckles控制器上的类比摇杆和触控板等,玩家可以自行选择多种交互方式混合使用,达到最适应自己的效果,将自由度交给玩家的同时,还大大缓解了玩家的VR晕动症。

图片来源:uploadvr.com
从类比摇杆的发展历史中能看到,硬件技术实现是一方面,在硬件基础上,通过软件创造实际的游戏应用,并逐渐形成一套通用标准,成为生态共识是一种交互体验最终能够普及、能够被市场认可,能被用户主动学习的前提。
《半衰期:Alyx》带来的体验很棒,但目前为止,仍然是孤品,但其影响已经在开发者中散播,后来的游戏如《Boneworks》和《Bonelab》借鉴了这种深度物理交互系统,甚至玩法中进一步强化了物理规则的应用,这些游戏设计层面上的进化,也推动了硬件优化,Meta和索尼在后来的VR设备中(Meta Quest 3、PS VR2)加入了更多类似手部追踪和触觉反馈的功能,以支持类似《Alyx》的高沉浸度体验。
在Meta Orion 眼镜发布后,扎克伯格接受The Verge采访时,曾经表示眼镜未来也许会长时间和手机混用,有时候也许人们可以不带手机。混合和用户自行选择,也许将是未来很长一段时间不同科技树之间的共存形态。
交互设计也许也是如此,在今天,手柄和键鼠哪个更好用在玩家中也意见不一,在脑机接口真正成熟以前,更多的不一致,以及对这些不一致的整合,或许是我们将会看到,以及需要适应的。
本文来自微信公众号“果壳硬科技”(ID:guokr233)