年销7亿,前“吉利少帅”卖房车,干出一个IPO
吉利系创业军团,又跑出一个IPO。
港交所11月29日披露,新吉奥房车有限公司(简称:新吉奥)向港交所主板提交上市申请书,华泰国际为其独家保荐人。
值得注意的是,新吉奥于2024年5月28日提交了上市申请,但在经过六个月后,该申请未能获得通过,于11月28日正式失效,也就是说,时隔一天,新吉奥就火速二次闯关港交所。
根据招股书,新吉奥是于澳洲和新西兰拥有广泛业务网络的房车公司,设计、开发、制造及销售定制拖挂式房车。
弗若斯特沙利文的资料显示,澳洲和新西兰房车市场呈现出相对集中的结构。根据 2023年销量数据,澳洲和新西兰房车市场的前五大参与者合计占据约55.4%的市场份额,其中新吉奥占据约6.8%的市场份额。此外,按2023年的收入计,澳洲和新西兰房车市场的前五大参与者合计占据约52.0%的市场份额,其中新吉奥占据约7.8%的市场份额。
按2023年的收入及销量计,其在澳洲和新西兰房车行业的市场份额中均位居第二。
此外,同资料显示,截至最后实际可行日期,新吉奥引领房车行业的发展,且正处于开发新型拖挂式电动房车车型的最后阶段,该车型重量较轻,兼具汽车设计及结构特征,是首批将拖挂式电动房车方案商业化的房车专家之一。
而这家房车公司的背后,站着的是曾跟随李书福15年的吉利汽车“少帅”缪雪中。
1971年出生于浙江台州,缪雪中从17岁开始从销售做起,就由李书福一手培养。1993年,吉利开始生产铝镁塑板,缪雪中借此进入建材市场,经销全国。最好的时候,一年能有1亿多元的销售额。
1999年,缪雪中继续跟随李书福进军汽车业,28岁时就被任命为吉利豪情汽车公司的总经理,成为全国乃至全球最年轻的汽车公司的CEO。
吉利创业期间,缪雪中创下销售突破3万辆大关的成绩,被称为吉利“少帅”。
2002年,离开吉利的缪雪中回到家乡台州,投身创业浪潮,创办了吉奥汽车,主要生产皮卡和SUV等车型,随后在进军澳洲和新西兰市场的设想下,缪雪中于2014年9月成立Regent公司并收购30多年历史的知名房车品牌Regent,正式进军澳洲市场。
招股书显示,新吉奥垂直整合的业务模式,将在中国的自主产品设计及制造专业知识与其在澳洲和新西兰的本地销售能力相结合,为房车车主提供从概念化、设计选择、定制、交付到各种售后服务的端到端车主体验。
公司利用最新的真空压机技术及先进的工艺在中国生产其车架及底盘,然后将其运送至位于墨尔本的组装线,以按照澳洲联邦标准进行组装,并在澳洲及新西兰进行销售。
截至2024年6月30日,公司已成功量产49款房车,均为标准房车,涵盖中端最畅销品牌Snowy River、豪华品牌 Regent及半越野品牌NEWGEN三个特色品牌下的八个不同系列,产品阵容强大。

来源:新吉奥集团招股书截图
凭借公司在房车产业价值链所展现出的精通能力,以及于澳洲和新西兰稳固且不断增长的客户基础,具备从房车概念化到制造、销售及经销的端到端管理能力的新吉奥,于往绩记录期间实现了强劲的销售增长。
2021年至2024上半年,公司分别向客户交付合共1,330辆、2,127辆、2,694辆及1,427辆房车,从2021年到2022年及从2022年到2023年分别增长59.9%及26.7%。
销量增长自然带动收入持续激增。

来源:新吉奥集团招股书截图
同期,新吉奥收入分别为2.997亿元、4.998亿元及7.203亿元,相应毛利率为16.7%、16.5%及25.1%。
2024年上半年,公司收入为4.22亿元,同期毛利率为32.0%,毛利率提升主要由于新吉奥通过自营店及合营店零售房车的占比高于以批发价(通常低于零售价)向经销商销售的占比。
报告期内,公司净利润更是自2021年的0.251亿元大幅增长至2022年的0.33亿元,于2023年进一步增加至0.788亿元,三年涨超2倍。2024年上半年,公司净利润为0.404亿元。
截至2024年6月30日,新吉奥通过结合三个不同的渠道建立充满活力、多方位的销售及经销网络,其中包括13家第三方经销店、两家自营店及在线官方网 站以及四家与澳洲和新西兰合营企业合作伙伴的合营店,组成的稳健而广泛的网络,提高销售覆盖范围及市场渗透率。
公司亦提供配套服务支撑其核心业务并与之产生协同作用,拥有54家推荐房车维修车间(包括自营店及合营店)网络,提供各种售后服务(包括房车保养、维修及各类房车零部件及配件的销售及升级),确保客户可获得保持车辆平稳高效运行所需的一切服务。
此外,自2023年起,新吉奥还为客户提供以其合资格的二手房车购买我们在所有自营店及合营店提供的新房车的选择,并通常在同一门店转售该等二手房车。
根据招股书披露,公司收入来源主要分为房车销售、销售二手房车和其他(提供售后服务期间销售房车零部件产生的收入),其中房车销售为营收主力,自2021年至2023年占比分别为99.6%、99.9%和98.7%。
今年上半年,房车销售营收占比降至94.1%,同期销售二手房车和其他的占比则分别为5.5%和0.4%。
接下来,公司预计将于2024年底于澳洲和新西兰首次推出混合动力越野拖挂式房车及自行式房车, 并最终在欧洲及北美市场推出其房车系列。

来源:新吉奥集团招股书截图
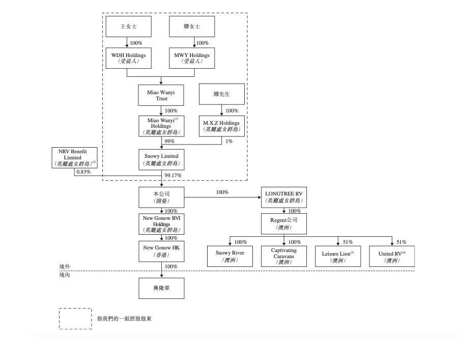
于最后实际可行日期,以缪雪中为首的一组控股股东包括缪雪中、王丹红女士(缪雪中的配偶)、缪婉漪女士(缪雪中及王丹红女士之女)、Snowy Limited、M.X.Z Holdings、Miao Wanyi Holdings、Miao Wanyi Trust、WDH Holdings及MWY Holdings。
新吉奥房车的一组控股股东通过Snowy Limited(作为公司直接股东)持有公司已发行股本总额的约99.17%,可见家族企业色彩浓厚。
据悉,新吉奥此次IPO募集所得资金净额将主要用于建立新的生产基地及升级现有生产工厂;扩大业务营运,通过加强销售及经销网络以进一步扩大客户群及提升客户粘性,并进一步在澳洲和新西兰房车行业的市场份额;持续的产品研发工作;及营运资金及一般企业用途。
本文来自微信公众号“直通IPO”