苹果获折叠屏手机专利:采用外折设计、分段式铰链
IT之家 1 月 28 日消息,据 PatentlyApple 报道,今日美国专利商标局正式授予苹果一项专利,主要涉及一种“外折式”折叠屏智能手机设计,重点在于其分段式铰链结构。该专利还涵盖了具有可滚动和 / 或可滑动显示屏的智能手机设计。

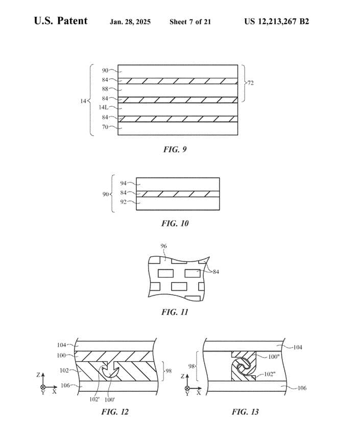
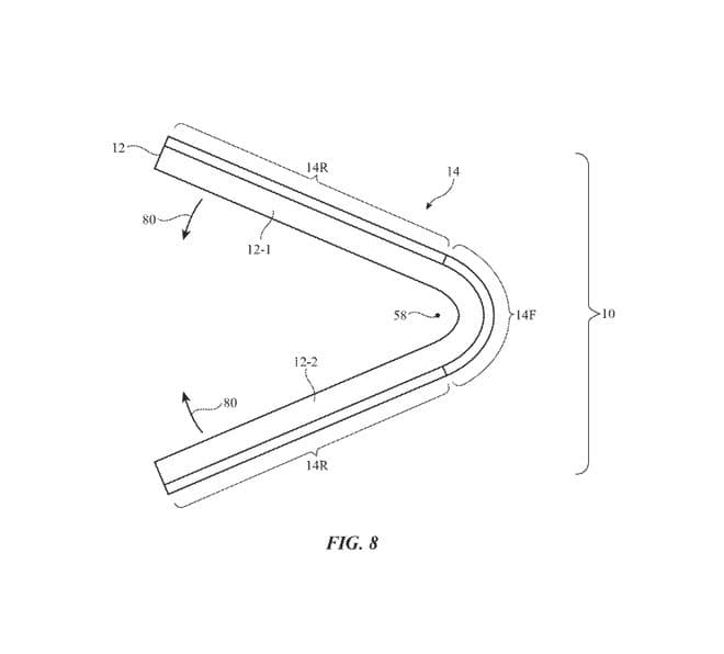
IT之家注意到,根据专利描述,苹果的折叠屏设备采用柔性显示屏(如 OLED 屏幕),并由可折叠的设备外壳支撑。设备外壳的第一部分和第二部分通过铰链结构连接,柔性显示屏覆盖外壳的第一部分、铰链结构以及第二部分。铰链结构的设计包括齿轮、皮带等同步运动结构,以确保设备在折叠时显示屏的平滑弯曲。此外,铰链结构中的移动部件(如连杆)围绕虚拟枢轴点旋转,这些枢轴点位于铰链结构外部,有助于减少显示屏在弯曲时的应力,从而保护像素和其他脆弱层。
专利还提到,铰链结构可能包括滑动铰链销支撑板,以确保设备折叠时铰链部件能够平滑地围绕外壳的曲面移动。显示屏的弯曲部分在折叠时可以靠在铰链结构的外表面上,进一步提升设备的耐用性。
值得注意的是,尽管专利中主要描述了“外折式”设计,但苹果的折叠屏专利大多倾向于“内折式”设计。这意味着苹果未来可能推出多种折叠形式的设备,包括智能手机、平板电脑、笔记本电脑甚至电视等。此外,专利还提到可滑动和可滚动的显示屏设计,进一步扩展了苹果在可扩展显示设备领域的可能性。





